In a recently published patent, Warner Bros details a new automotive entertainment system that allows gaming while commuting.
Warner Bros. may be preparing to create video game devices that can be used in a moving car. In a recently filed patent, it appears the entertainment giant is taking steps to ensure you can game, even as you travel the roads. This may also shed some light on the future of gaming as self-driving cars become more ambiguous. Under new leadership, it will be interesting to see how Warner Bros. extends its reach in gaming.
Self-driving electric cars are becoming popular, and even Apple has teased the idea of an autonomous car. At the same time, Warner Bros. has long been invested in the video game space. Video games in cars isn’t an entirely new idea, not since Elon Musk started adding video game options to various Tesla vehicles. However, these devices are meant for use primarily while the vehicle is stopped or charging. Warner Bros. appears to be taking this trend one step further, making it possible to play video games while the vehicle is moving. Many self-driving cars use high-end graphics processors (GPUs), since these processors are highly efficient at handling multiple processes.
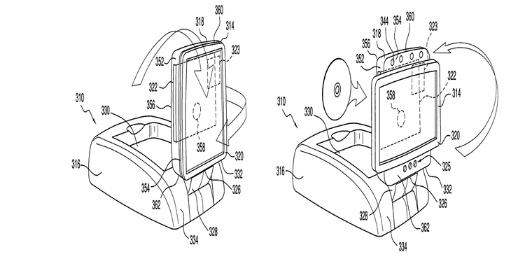
In a patent filed on April 4, 2022 and published on September 22, 2022 entitled HARDWARE FOR ENTERTAINMENT CONTENT IN VEHICLES, Warner Bros. laid out plans for a system that would allow commuters (in a self-driving car) to play multiplayer video games during their journey. Within the patent are details that explain how the device would allow a commuter to play games while the vehicle uses autonomous driving. Using a variety of complex sensors, Warner Bros. claims the device would be able to ensure it’s used safely.

An “apparatus” housed in a portable display is described, which would provide entertainment experiences to passengers. Perhaps it’s possible the device will be something like a Steam Deck, even though some gamers have questioned that devices’ value. The patent specifies the use of multiplayer gaming. Given that much of the patent application is dedicated to the 5G communication system the platform will employ, it could be assumed that it will utilize game streaming in some fashion.
Elon Musk explained why he won’t make a video game console to compete with Xbox or Playstation, but it seems like since the announcement a Tesla Plaid could run Cyberpunk 2077, the race is on to make self-driving cars capable of high-end gaming. One feature that would be beloved by gamers is a seamless transition between a home PC or console, and the device in their car. Imagine pausing a game in the morning on your PS5, and being able to instantly resume on the ride to work.
Source


























